陆用流体装卸臂(鹤管)
Product Center
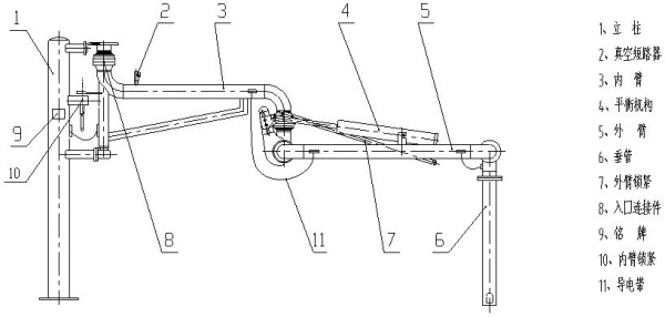
AL1401鹤管



顶部装车鹤管(上装鹤管)
型号:AL1401 、AL1402 AL1403
连接方式:法兰连接
适用介质:汽油,煤油,柴油,液态化工介质
适用场合:石油,化工行业
管道材质:不锈钢、碳钢或PTFE衬碳钢等
公称口径:DN25、DN50、DN80、DN100、DN125、DN150、DN200
工作温度:-40~190℃
工作压力:-0.08~6.0MPa
鹤管的执行/参照的标准及规范
◆ HG/T21608-96 《液体装卸臂》
◆ GB/74-84 《石油库设计规范》
◆ GB50160-92 《石油化工企业设计防火规范》
◆ GB383601 《爆炸性环境用防爆电器设备通用要求》
◆ GB7932 《气动系统通用技术条件》
◆ GB3766 《液压系统通用技术条件》
◆ GB3323-87 《钢熔化焊接接头射线照相和除锈等级》
◆ GB/T8932-88 《涂装前钢材表面锈蚀等级和除锈等级》
◆ GB/T13384-92 《机电产品包装通用技术条件》
鹤管产品性能
◆ 能够承受苛酷的轴向、径向及力矩负荷,转动灵活、可靠、无泄露。
◆ 密封圈结构独特,采用PTFE增强聚四氟材料,内嵌不锈钢骨架,密封面经抛光处理,耐磨性能,密封性能优越、可靠。
◆ 弹簧缸平衡系统可在任意点平衡,使对位操作轻巧、合理。
◆ 所有承压主管道焊缝采用氩弧焊,完全符合HG/T 21608-96标准。
◆ 配带优质合理的静电接地系统,静电电阻小于2Ω,安全性能可靠。
◆ 结构合理,以小的臂尺寸,来实现大的包络范围。
◆ 装卸作业中,随槽车在正常范围内移动,发挥充分的可挠性。
◆ 鹤管表面采用喷砂除锈,选用优质油漆,*的喷涂工艺,既保证了良好的外观质量,又具备*的抗腐蚀能力。
◆ 按左侧型或右侧型设计制造,结构形式也可专门设计。
◆ 可配置可靠的液动、气动或电动操作系统,安全的报警系统。
◆ 可实现自动化作业,PLC控制,方便作业、检修。
◆ 灵巧多样的附件用以实现环境保护和安全操作。
- 没有相关新闻



